Каталог запчастей для иномарок

2328534 Провод Scania

Товар 2328534 Провод Scania с оригинальным номером произвоителя 2328534 для автомобиля марки Scania

Наименование «2328534 Провод Scania «, представлен в Каталоге SCANIA с оригинальным номером:2328534. Мы всегда готовы предоставить исчерпывающую информацию о любой запасной части для легковых и грузовых иномарок!

Номер замены-

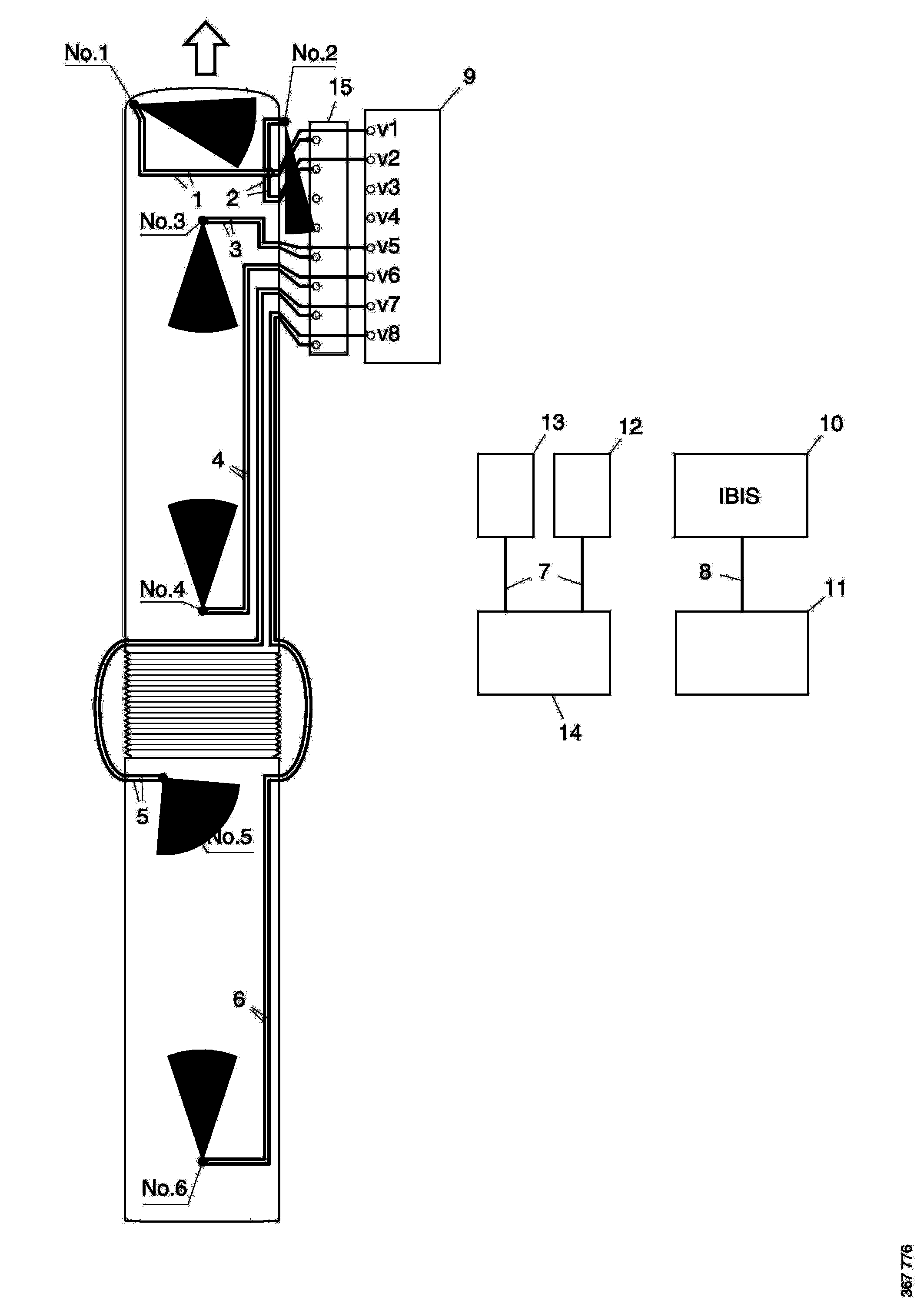
Данная деталь на схеме под №8

Артикул: 2328534 Категория: